Effects of Lightning Strike on Capacitors

Technical Support

In power distribution systems, power capacitors are commonly installed to improve the power factor of inductive loads. Since most loads are inductive in nature, they exhibit high impedance to abnormal voltages and harmonic voltages. In contrast, capacitors exhibit low capacitive reactance to such voltages.

As a result, when the system is subjected to lightning surges, the resulting abnormal voltages and currents are often absorbed by the capacitors, which can lead to severe damage. 

Abnormal Voltage Damage

When abnormal voltages exceed the capacitor’s rated voltage, they can break down the internal insulation . Once the insulation is compromised, it may cause internal short circuits or even instantaneous rupture of the capacitor elements.

Surge Current Damage

During a lightning strike, surge currents often accompany abnormal voltages. Given the relationship Q=CVQ = CVQ=CV (where Q is the charge, C is the capacitance, and V is the voltage), a large surge voltage leads to a high charge that the capacitor may not be able to withstand instantaneously. This can cause the capacitor to rupture violently , potentially producing electric arcs .

To protect capacitors from lightning-induced damage, surge arresters are typically installed at the power receiving point, and surge absorbing capacitors are installed on the high-voltage side of the receiving panel. 

HIGH VOLTAGE SURGE-ABSORBING CAPACITOR

The surge-absorbing capacitor is specifically designed to have much higher withstand voltage than generators, etc. in order to protect equipments against steep surge voltage.


1. ENVIRONMENTAL CONDITIONS

a. Location: Indoor/Outdoor

b. Ambient Temperature:
    -20°C to +40°C(Daily mean temperature: Below 35°C

c. Altitude: Below 1,000m

2. CHARACTERISTICS

a. Capacitance Tolerance:
    -5% to +10% of the rated capacitance
    (Deflection within ±3% for each phase)

b. Temperature Rise: Below 25°C at 35°C

c. Insulation Resistance: Terminals to Case - More than 1,000 megohm

d. Oil-tight sealing: No oil leakage at 80°C

e. Residual Inductance: Below


Line Voltage Test Voltage
AC (50Hz or 60Hz) DC
3300V 16kV (1 min.) 45kV (10sec.)
6600V 22kV (1 min.) 60kV (10sec.)
11000V 28kV (1 min.) 90kV (10sec.)
22000V 50kV (1 min.) 150kV (10sec.)

3. CASE COLOR: MUNSELL 7.5Y 7/2

4. STANDARD: Referred to JIS C4902 (No standard in the world available for the surge-absorbing capacitor.

5. INTERNAL CONNECTION



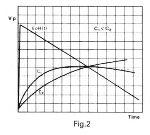
6.PRINCIPLE AND EFFECTIVENESS OF SURGE-ABSORBING CAPACITOR
When the surger-absorbing capacitor is connected in parallel with a rotary machine, etc., it is well known that the traveling wave is absorbed by the surge-absorbing capacitor resulting in reduction of the travelling wave voltage.
The effect is shown Fig. 1 and Fig. 2  


where

Vp: Voltage at "p" point

Eo: Absolute value of travelling wave
       Vo = EoH (t)

C: Capacitance

Z: Surge Impedance of Line

P: d/d t

α: (R + L) CRZ

R: Concentrated equivalent resistance of rotating mahcine,etc.